LANAC GAL 8188 12A-3 (60-3)

cijena:

66,00 KM

pošalji upit o proizvodu

 

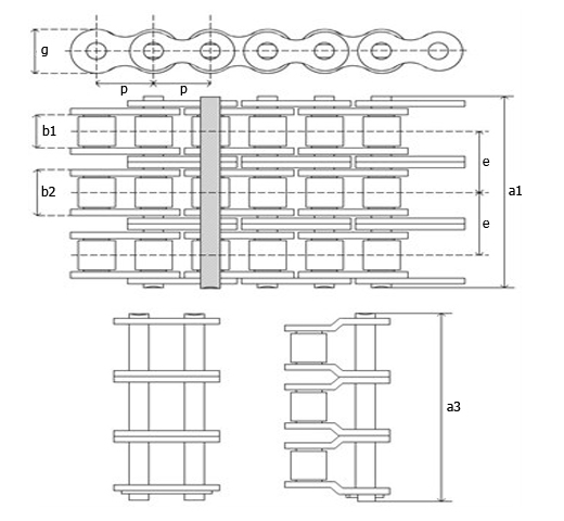
p 19,05
b1 min 12,57
b2 max 17,7
d1 max 11,91
d2 max 5,94
g 17,7
e 22,78
a1 max 71,4
a3 max 75,6